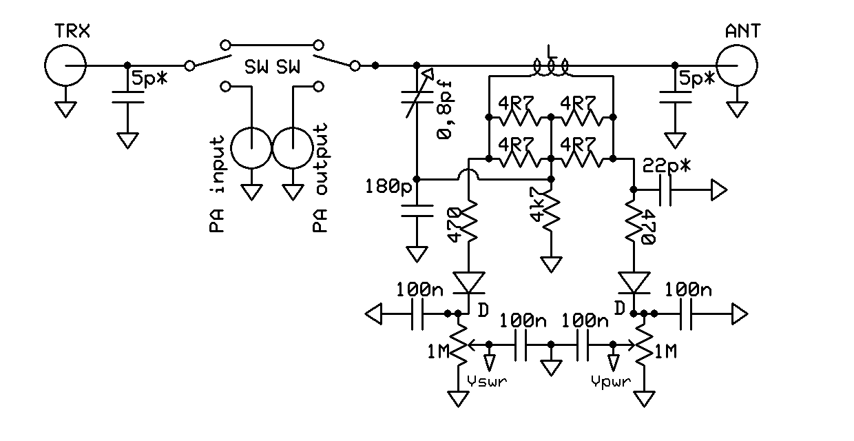
Moduł N/O z mostkiem w układzie Bruena
Płytka pozwalająca na przełączanie i przekazywanie mocy we wzmacniaczu
w.cz dla mocy powyżej 500 wat . Takie układy są stosowane w większości
fabrycznych reflektometrów, a prezentowana płytka powinna dać radę do 2kW a
ograniczeniem są przekaźniki, grubość przewodu linii pomiarowej oraz typ
laminatu i odległości ścieżek.
Ograniczenia związane z mostkiem Stocktona w układzie "Tandem Match"
który jest bardzo powszechnym rozwiązaniem w PA powyżej 1 kW skłoniły mnie do
przetestowania i wykonania kilku próbnych płytek z układem Bruena.
Po przeczytaniu opisu na stronie www:f1frv
wykonałem obydwie wersje i zdecydowałem ze zastosuję jedną cewkę pomiarową bez
odczepu, stosując 1% rezystory obciążające, W zależności od rozmieszczenia
elementów na płytce odczyty napięć po zrównoważeniu (dobraniu pojemności
kondensatora z kabla teflonowego) były w zasadzie rewelacyjne. Przy mocy
testowej 50 watów, poziom napięcia DC dla fali odbitej (do 8mV) pojawiał się
tylko przy częstotliwości 52MHz . Na pokazanej płytce można to skorygować
kondensatorem 22pf*. Pogorszy to delikatnie kierunkowość przy zamianie wejście
-wyjście, ale w dedykowanym układzie pomiaru mocy między wzmacniaczem a anteną
(w jedną stronę) niweluje on napięcie dc na pinie swr.
Może się wydawać że tak dobrana ilość zwoi i niska oporność rezystorów
jest nie odpowiednia, ale nic bardziej mylnego. Mała ilość zwoi - 8 w środku
rdzenia - to brak rezonansów cewki w paśmie pracy mostka. Niska rezystancja
obciążenia dławika ( traktujmy go jak przekładnik prądowy). to mniejsze straty
mocy.
Schemat prezentowanej płytki bez uwzględnienia zasilania cewek przekaźników.
Straty w paśmie przenoszenia
między gniazdami UC1 bez zasilania przekaźników i bez kondensatorów 5pf*

Dodatkowa pojemność przy gniazdach może być przydatna dla uzyskania lepszego
dopasowania do TRXa, stopnia mocy, poziomu swr itp. W zasadzie poziom SWR jest poniżej
1,05 dla całego pasma przenoszenia, ale dodanie pojemności po 5pF poprawiło
przenoszenie mocy na BAY-PASIE, mimo pogorszenia tłumienia całej płytki. Jak widać
nie zawsze dokładny pomiar i teoretyczny układ mija się z praktyką a nasze TRXy
, kable i inne peryferia nie mają zakładanych czystych 50 omowych rezystancji,
a zastosowane elementy nie są idealnymi liniami, posiadają pasożytnicze RLC.
Generalnie polecam wykonanie takiego układu szczególnie kiedy inny układ mostka nie jest satysfakcjonujący.
Jako
kondensator zmienny użyłem przewodu RG142. Zamiast ekranu który
się lekko sypie po ucięciu i trudno
jest korygować jego wymiar, wykorzystałem tylko żyłę wewnętrzną i
dielektryk teflonowy, nawijając około 10 zwoi srebrzanki 0,5mm. Tak wykonany kondensator zapewni wysokie napięcie pracy.
Nawijając lub odwijając zwoje koryguje się wymaganą pojemność dla
skompensowania działania mostka, na minimalne napięcie FWD (swr) i jest ona dość
krytyczna.
Linia pomiarowa wykonana z kabla RG142 ekran jednostronnie podpięty do
masy
Użyte diody Schotkiego 1N5711 zapewniają wysoką liniowość pod warunkiem niskiego obciążenia prądowego . Dla 1V przy 1MΩ popłynie prąd 1 uA dlatego zalecam elektroniczne obciążenia o wysokiej rezystancji wejścia. Przy obciążeniu wskaźnikiem wychyłowym trzeba zmienić wartości elementów i dopasować je do swoich potrzeb. Jest jeszcze możliwość spolaryzowania diod napięciem stałym, podpinając rezystor około 1MΩ do punktu środkowego rezystorów mostka i zasilania 10-12V w celu uzyskania wyższej liniowości dla bardzo małych mocy. Takie rozwiązanie zastosowałem na finalnej płytce swojego wzmacniacza uzyskując poprawny cyfrowy pomiar w zakresie od 1W do 1500 wat. Zapewne jeszcze zapytacie dlaczego diody mają szeregowe rezystory 470Ω. Realizacja pomiaru odbywa się poprzez pomiar prądu w linii antenowej, a możliwość rozróżnienia napięcia fali padanej i odbitej jest realizowana poprzez wprowadzenie około 1/200 napięcia z linii do środka mostka, tak aby umożliwić kierunkowość pomiarową. Przy wyższych częstotliwościach 30-50MHz następuje przenikanie pola na układ pomiarowy i o kilka procent podbijało to odczyt napięcia dla tego zakresu, względem poziomu odniesienia. Kompensacja pojemnością nie dawała efektów, a zastosowanie szeregowej rezystancji rozwiązało tą przypadłość.
Napięcia DC na pinie "Mocy padanej" przy obciążeniu 50Ω
1W-0,018V
10W-0,19V
100W-0,95V
1000W-3V
2000W-4,3V
Płytka wraz z kompletem elementów będzie dostępna na sklepie.